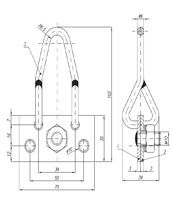
Zamka rasteretna PSK 4
462901
PTT VESNIK 3/68, 7/74

* Izražene veličine su u milimetrima

Izrađeno prema: TU PTT Vesniku 3/68 i 7/74
Zaštita: Prema TU PTT Vesniku 9/1975
Primena: Zamka rasteretna namenjena je za rasterećenje kablova TK33-U
462901
PTT VESNIK 3/68, 7/74

* Izražene veličine su u milimetrima

Izrađeno prema: TU PTT Vesniku 3/68 i 7/74
Zaštita: Prema TU PTT Vesniku 9/1975
Primena: Zamka rasteretna namenjena je za rasterećenje kablova TK33-U
Laze Lazarevića 42, Novi Sad
Telefon:
021/ 466-351
636-88-80
636-88-92
636-95-66
469-098