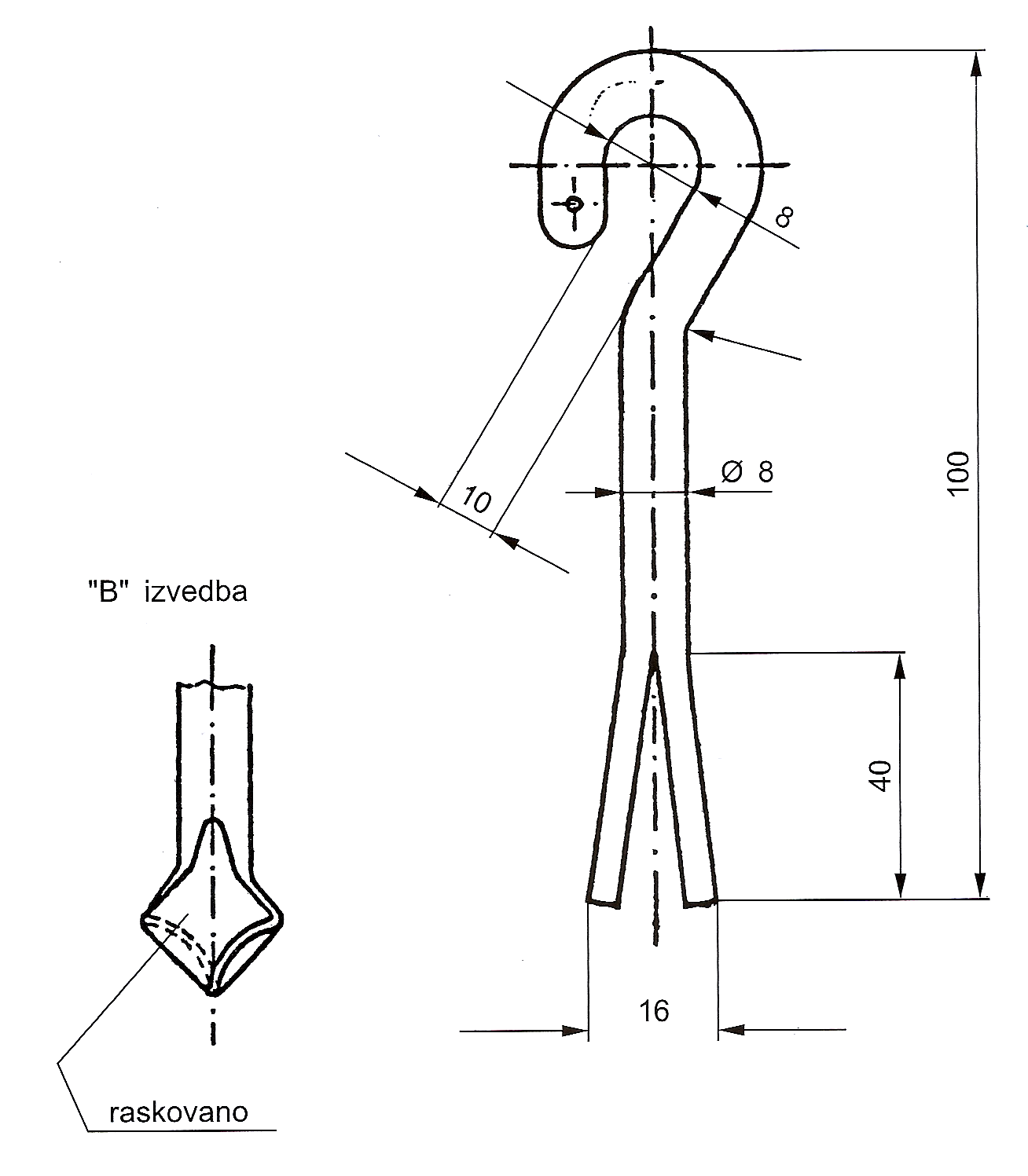
Nosač prolazni za zid PSK 9/150
065531
PTT VESNIK 3/68


Izrađeno prema: TU PTT Vesniku 3/68
Zaštita: Prema TU PTT Vesniku 9/1975
Primena: Za najveće opterećenje nosača je 150dN
065531
PTT VESNIK 3/68


Izrađeno prema: TU PTT Vesniku 3/68
Zaštita: Prema TU PTT Vesniku 9/1975
Primena: Za najveće opterećenje nosača je 150dN
Laze Lazarevića 42, Novi Sad
Telefon:
021/ 466-351
636-88-80
636-88-92
636-95-66
469-098